Rich Gossweiler
current date
science ⇒ cake
   
watchworks: exploring interaction models for the watch
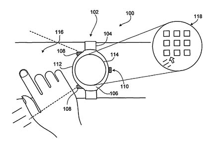
We explored interaction models for small displays such as a smart watch. One of the challenges is that your finger covers the display. In one design, we use sensors on the side of the watch to move the input area over to your arm. In another design, we flip up the display, allowing you to look through it or point with it, or have a second surface to touch.
Smart Watch Flip Up Display patent
Gesture Based Small Device Input patent